Product Summary
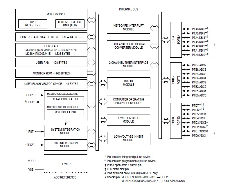
The MC68HC908JK3ECPE is a microcontroller. The MC68HC908JK3ECPE is a member of the low-cost, high performance M68HC08 Family of 8-bit microcontroller units (MCUs). The MC68HC908JK3ECPE is based on the customer-specified integrated circuit (CSIC) design strategy. It uses the enhanced M68HC08 central processor unit (CPU08) and are available with a variety of modules, memory sizes and types, and package types.
Parametrics
MC68HC908JK3ECPE absolute maximum ratings: (1)Supply voltage VDD: –0.3 to +6.0 V; (2)Input voltage VIN VSS: –0.3 to VDD +0.3 V; (3)Mode entry voltage, IRQ1 pin VDD+VHI VSS: –0.3 to +8.5 V; (4)Maximum current per pin excluding VDD and VSS I: ±25 mA; (5)Storage temperature TSTG: –55 to +150 ℃; (6)Maximum current out of VSS IMVSS: 100 mA; (7)Maximum current into VDD IMVDD: 100 mA.
Features
MC68HC908JK3ECPE features: (1)EMC enhanced version of MC68H(R)C908JL3/JK3/JK1; (2)High-performance M68HC08 architecture; (3)Fully upward-compatible object code with M6805, M146805, and M68HC05 Families; (4)Low-power design; fully static with stop and wait modes; (5)Maximum internal bus frequency: 8-MHz at 5V operating voltage. 4-MHz at 3V operating voltage.
Diagrams

![]() |
![]() MC6800 |
![]() Other |
![]() |
![]() Data Sheet |
![]() Negotiable |
|
||||
![]() |
![]() MC6801 |
![]() Other |
![]() |
![]() Data Sheet |
![]() Negotiable |
|
||||
![]() |
![]() MC68020 |
![]() Other |
![]() |
![]() Data Sheet |
![]() Negotiable |
|
||||
![]() |
![]() MC68020CEH16E |
![]() Freescale Semiconductor |
![]() Microprocessors (MPU) 32-BIT MPU |
![]() Data Sheet |
![]() Negotiable |
|
||||
![]() |
![]() MC68020CEH25E |
![]() Freescale Semiconductor |
![]() Microprocessors (MPU) 32-BIT MPU |
![]() Data Sheet |
![]() Negotiable |
|
||||
![]() |
![]() MC68020CRC16E |
![]() Freescale Semiconductor |
![]() Microprocessors (MPU) 32-BIT MPU |
![]() Data Sheet |
![]() Negotiable |
|
||||
(China (Mainland))









