Product Summary
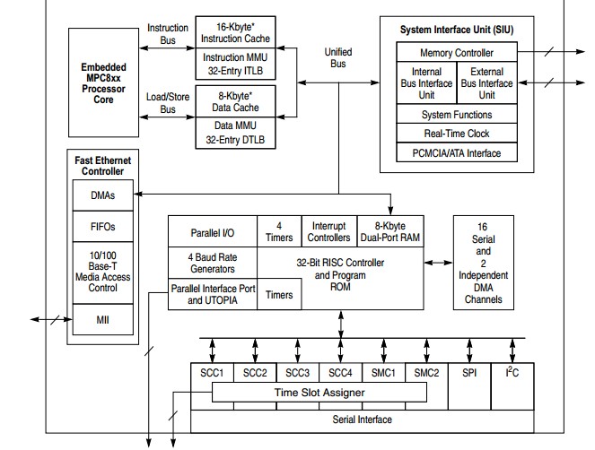
The XPC862SRCZP66B is a single-chip integrated microprocessor and peripheral combination that can be used in a variety of controller applications and communications and networking systems.The XPC862SRCZP66B provides enhanced ATM functionality over that of other ATM-enabled members of the MPC860 family.
Parametrics
XPC862SRCZP66B absolute maximum ratings: (1)Supply voltage,VDD:-0.3 to 4.0 V; (2)Input voltage:GND-0.3 to VDD V; (3)Temperature (standard):0 to 105°C; (4)Temperature (extended):-40 to 115°C; (5)Storage temperature range:-55 to +150 °C.
Features
XPC862SRCZP66B features: (1)Embedded single-issue, 32-bit core (implementing the PowerPC architecture) with thirty-two 32-bit general-purpose registers (GPRs) ; (2)provides enhanced ATM functionality over that of the MPC860SAR.; (3)Up to 32-bit data bus (dynamic bus sizing for 8, 16, and 32 bits); (4)32 address lines; (5)Memory controller (eight banks); (6)General-purpose timers; (7)Fast Ethernet controller (FEC); (8)System integration unit (SIU); (9)Interrupts; (10)Communications processor module (CPM); (11)Four baud rate generators; (12)four SCCs (serial communication controller) ; (13)Two SMCs (serial management channels) (The MPC857DSL has one SMC, SMC1 for UART); (14)One serial peripheral interface (SPI); (15)Time-slot assigner (TSA) (The MPC857DSL does not have the TSA); (16)Parallel interface port (PIP); (17)PCMCIA interface; (18)Low power support; (19)Debug interface; (20)3.3 V operation with 5-V TTL compatibility except EXTAL and EXTCLK; (21)357-pin plastic ball grid array (PBGA) package; (22)Operation up to 100MHz.
Diagrams

![]() |
![]() XPC823CVR66B2T |
![]() |
![]() IC MPU POWERQUICC 66MHZ 256-PBGA |
![]() Data Sheet |
![]() Negotiable |
|
||||||
![]() |
![]() XPC823CZT66B2T |
![]() |
![]() IC MPU POWERQUICC 66MHZ 256-PBGA |
![]() Data Sheet |
![]() Negotiable |
|
||||||
![]() |
![]() XPC823ECVR66B2 |
![]() Freescale Semiconductor |
![]() Microprocessors (MPU) 823E PB-FREE |
![]() Data Sheet |
![]() Negotiable |
|
||||||
![]() |
![]() XPC823EVR66B2 |
![]() Freescale Semiconductor |
![]() Microprocessors (MPU) PB-FREE 823E 66MHZ |
![]() Data Sheet |
![]() Negotiable |
|
||||||
![]() |
![]() XPC823EVR75B2 |
![]() Freescale Semiconductor |
![]() Microprocessors (MPU) PB-FREE 823E 75MHZ |
![]() Data Sheet |
![]() Negotiable |
|
||||||
![]() |
![]() XPC823VR66B2T |
![]() |
![]() IC MPU POWERQUICC 66MHZ 256-PBGA |
![]() Data Sheet |
![]()
|
|
||||||
(China (Mainland))









