Product Summary
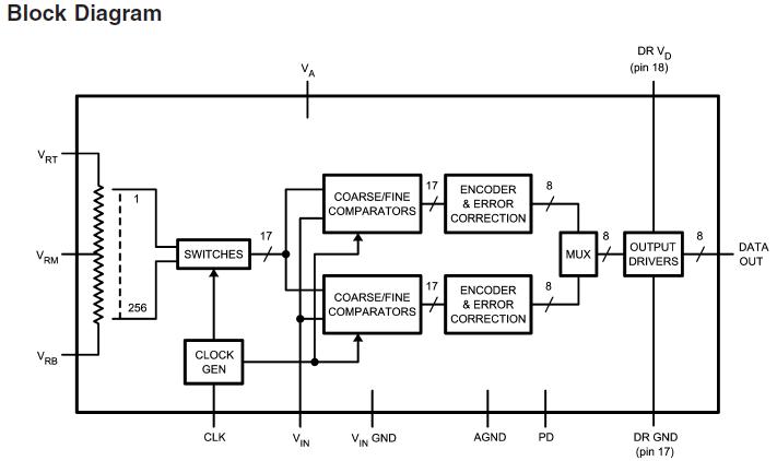
The ADC08200CIMT is a low-power, 8-bit, monolithic analog-todigital converter with an on-chip track-and-hold circuit. Optimized for low cost, low power, small size and ease of use, the ADC08200CIMT operates at conversion rates up to 230 MSPS while consuming just 1.05 mW per MHz of clock frequency, or 210 mW at 200 MSPS. Raising the PD pin puts the ADC08200CIMT into a Power Down mode where it consumes about 1 mW.
Parametrics
ADC08200CIMT absolute maximum ratings: (1)Supply Voltage (VA): 3.8V; (2)Driver Supply Voltage (VDR): VA +0.3V; (3)Voltage on Any Input or Output Pin: -0.3V to VA; (4)Reference Voltage (VRT, VRB): VA to AGND; (5)CLK, PD Voltage Range: -0.05V to (VA + 0.05V); (6)Input Current at Any Pin: ±25 mA; (7)Package Input Current: ±50 mA; (8)ESD Susceptibility: Human Body Model: 2500V, Machine Model: 200V; (9)Soldering Temperature, Infrared, 10 seconds: 235℃; (10)Storage Temperature: -65℃ to +150℃.
Features
ADC08200CIMT features: (1)Single-ended input; (2)Internal sample-and-hold function; (3)Low voltage (single +3V) operation; (4)Small package; (5)Power-down feature.
Diagrams

| Image | Part No | Mfg | Description | ![]() |
Pricing (USD) |
Quantity | ||||||||||||
|---|---|---|---|---|---|---|---|---|---|---|---|---|---|---|---|---|---|---|
![]() |
![]() ADC08200CIMT |
![]() National Semiconductor (TI) |
![]() ADC (A/D Converters) |
![]() Data Sheet |
![]()
|
|
||||||||||||
![]() |
![]() ADC08200CIMT/NOPB |
![]() National Semiconductor (TI) |
![]() ADC (A/D Converters) |
![]() Data Sheet |
![]()
|
|
||||||||||||
![]() |
![]() ADC08200CIMTX/NOPB |
![]() National Semiconductor (TI) |
![]() ADC (A/D Converters) |
![]() Data Sheet |
![]()
|
|
||||||||||||
![]() |
![]() ADC08200CIMTX |
![]() National Semiconductor (TI) |
![]() ADC (A/D Converters) |
![]() Data Sheet |
![]()
|
|
||||||||||||
(China (Mainland))










