Product Summary
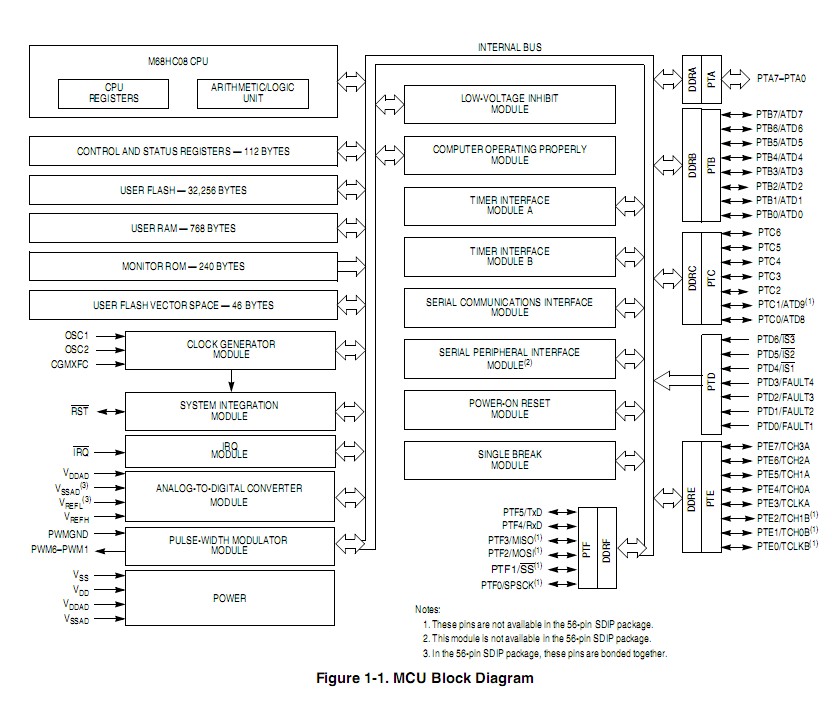
The MC908MR32CBE is a member of the low-cost, high-performance M68HC08 Family of 8-bit microcontroller units (MCUs). All MCUs in the family use the enhanced M68HC08 central processor unit (CPU08) and are available with a variety of modules, memory sizes and types, and package types.
Parametrics
MC908MR32CBE absolute maximum ratings: (1)Supply voltage: –0.3 to +6.0 V; (2)Input voltage: VSS –0.3 to VDD +0.3 V; (3)Input high voltage: VDD + 4 maximum V; (4)Maximum current per pin excluding VDD and VSS: ±25 mA; (5)Storage temperature: –55 to +150 ℃; (6)Maximum current out of VSS: 100 mA; (7)Maximum current into VDD: 100 mA.
Features
MC908MR32CBE features: (1)High-performance M68HC08 architecture; (2)8-MHz internal bus frequency; (3)On-chip programming firmware for use with host personal computer; (4)FLASH data security; (5)768 bytes of on-chip random-access memory (RAM); (6)12-bit, 6-channel center-aligned or edge-aligned pulse-width modulator (PWMMC); (7)Serial peripheral interface module (SPI); (8)Serial communications interface module (SCI); (9)16-bit, 4-channel timer interface module (TIMA); (10)16-bit, 2-channel timer interface module (TIMB); (11)Clock generator module (CGM); (12)Low-voltage inhibit (LVI) module with software selectable trip points; (13)10-bit, 10-channel analog-to-digital converter (ADC).
Diagrams

| Image | Part No | Mfg | Description | ![]() |
Pricing (USD) |
Quantity | ||||||||||||
|---|---|---|---|---|---|---|---|---|---|---|---|---|---|---|---|---|---|---|
![]() |
![]() MC908MR32CBE |
![]() Freescale Semiconductor |
![]() 8-bit Microcontrollers (MCU) 8BIT MCU W/32K FLASH EPP |
![]() Data Sheet |
![]()
|
|
||||||||||||
| Image | Part No | Mfg | Description | ![]() |
Pricing (USD) |
Quantity | ||||||||||||
![]() |
![]() MC908AB32CFUE |
![]() Freescale Semiconductor |
![]() 8-bit Microcontrollers (MCU) 32K FLASH & 512 EE |
![]() Data Sheet |
![]()
|
|
||||||||||||
![]() |
![]() MC908AB32CFUER |
![]() Freescale Semiconductor |
![]() 8-bit Microcontrollers (MCU) 32K FLASH & 512 EE |
![]() Data Sheet |
![]()
|
|
||||||||||||
![]() |
![]() MC908AB32MFUE |
![]() Freescale Semiconductor |
![]() 8-bit Microcontrollers (MCU) 32K FLASH & 512 EE |
![]() Data Sheet |
![]()
|
|
||||||||||||
![]() |
![]() MC908AP16ACBE |
![]() Freescale Semiconductor |
![]() 8-bit Microcontrollers (MCU) MCU 16K FLSH HS OSC |
![]() Data Sheet |
![]()
|
|
||||||||||||
![]() |
![]() MC908AP16ACFAE |
![]() Freescale Semiconductor |
![]() 8-bit Microcontrollers (MCU) MCU 16K FLSH HS OSC |
![]() Data Sheet |
![]()
|
|
||||||||||||
![]() |
![]() MC908AB32VFUE |
![]() Freescale Semiconductor |
![]() 8-bit Microcontrollers (MCU) 8 BIT MCU 32K FLASH 512E |
![]() Data Sheet |
![]() Negotiable |
|
||||||||||||
(China (Mainland))









