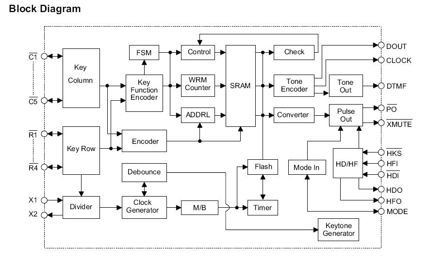
Product Summary
The HT9315DR is a 15-Memory Tone/Pulse Dialer. It is a CMOS LSI for telecommunication systems. The HT9315DR is designed to meet various dialing specifications through resistor option matrix.
Parametrics
HT9315DR absolute maximum ratings: (1)Supply Voltage: -0.3V to 6V; (2)Input Voltage: VSS-0.3 to VDD+0.3V; (3)Storage Temperature: -50℃ to 125℃; (4)Operating Temperature: -20℃ to 75℃.
Features
HT9315DR features: (1)Universal specification; (2)Operating voltage: 2.0V to 5.5V; (3)Low standby current; (4)Low memory retention current: 0.1μA (Typ.); (5)Tone/pulse switchable; (6)Interface with LCD driver; (7)32 digits for redialing; (8)32 digits for the SA memory dialing; (9)One-key redialing; (10)Pause and P→T key for PBX; (11)4×5 keyboard matrix; (12)3.58MHz crystal or ceramic resonator; (13)Hand-free control; (14)Hold-line control; (15)Pause, P→T can be saved for redialing; (16)Lock function; (17)Keytone function.
Diagrams

![]() |
![]() HT9302 |
![]() Other |
![]() |
![]() Data Sheet |
![]() Negotiable |
|
||||
![]() |
![]() HT9302 Series |
![]() Other |
![]() |
![]() Data Sheet |
![]() Negotiable |
|
||||
![]() |
![]() HT9302A |
![]() Other |
![]() |
![]() Data Sheet |
![]() Negotiable |
|
||||
![]() |
![]() HT9302B |
![]() Other |
![]() |
![]() Data Sheet |
![]() Negotiable |
|
||||
![]() |
![]() HT9302C |
![]() Other |
![]() |
![]() Data Sheet |
![]() Negotiable |
|
||||
![]() |
![]() HT9302D |
![]() Other |
![]() |
![]() Data Sheet |
![]() Negotiable |
|
||||
(China (Mainland))








