Product Summary
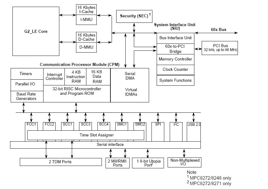
The MPC8248VRTIEA is a Microprocessor. It contains detailed information on power considerations, DC/AC electrical characteristics, and AC timing specifications for the MPC8272 family of devices—the MPC8272, the MPC8248, the MPC8271, and the MPC8247. The MPC8248VRTIEA is 0.13μm (HiP7) members of the PowerQUICC II. family of integrated communications processors. They include on a single chip a 32-bit PowerPC core that incorporates memory management units (MMUs) and instruction and data caches and that implements the PowerPC instruction set; a modified communications processor module (CPM); and an integrated security engine (SEC) for encryption (the MPC8272 and the MPC8248 only).
Parametrics
MPC8248VRTIEA absolute maximum ratings: (1)Core supply voltage VDD: -0.3V to 2.25V; (2)PLL supply voltage VCCSYN:–0.3V to 2.25V; (3)I/O supply voltage: -0.3V to 4.0V; (4)Input voltage: GND (-0.3) to 3.6V; (5)Junction temperature Tj: 120℃; (6)Storage temperature range TSTG:–55℃ to +150℃.
Features
MPC8248VRTIEA features: (1)Dual-issue integer (G2_LE) core; (2)Low-power consumption; (3)Separate power supply for internal logic (1.5 V) and for I/O (3.3 V); (4)Separate PLLs for G2_LE core and for the communications processor module (CPM); (5)64-bit data and 32-bit address 60x bus; (6)60x-to-PCI bridge; (7)System interface unit (SIU); (8)Eight bank memory controller; (9)Disable CPU mode; (10)Integrated security engine (SEC) (MPC8272 and MPC8248 only); (11)Communications processor module (CPM); (12)Universal serial bus (USB) controller; (13)PCI bridge.
Diagrams

| Image | Part No | Mfg | Description | ![]() |
Pricing (USD) |
Quantity | ||||||||||
|---|---|---|---|---|---|---|---|---|---|---|---|---|---|---|---|---|
![]() |
![]() MPC8248VRTIEA |
![]() Freescale Semiconductor |
![]() Microprocessors (MPU) 400 MHz 760 MIPS |
![]() Data Sheet |
![]()
|
|
||||||||||
| Image | Part No | Mfg | Description | ![]() |
Pricing (USD) |
Quantity | ||||||||||
![]() |
![]() MPC800 |
![]() Other |
![]() |
![]() Data Sheet |
![]() Negotiable |
|
||||||||||
![]() |
![]() MPC801 |
![]() Other |
![]() |
![]() Data Sheet |
![]() Negotiable |
|
||||||||||
![]() |
![]() MPC801KG |
![]() Other |
![]() |
![]() Data Sheet |
![]() Negotiable |
|
||||||||||
![]() |
![]() mPC8104GR |
![]() Other |
![]() |
![]() Data Sheet |
![]() Negotiable |
|
||||||||||
![]() |
![]() mPC8106TB |
![]() Other |
![]() |
![]() Data Sheet |
![]() Negotiable |
|
||||||||||
![]() |
![]() mPC8109TB |
![]() Other |
![]() |
![]() Data Sheet |
![]() Negotiable |
|
||||||||||
(China (Mainland))










