Product Summary
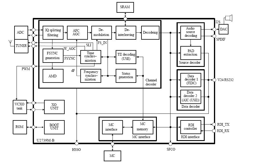
The U2739M-AFT is a DAB One-Chip Channel- and Source Decoder. The U2739M-AFT includes the main features OFDM demodulation & decoding and time & frequency synchronization algorithms, using the embedded OAK DSP core. The U2739M-AFT consists of an audio and a data decoder part. The audio source decoder supports ISO MPEG 1,2 layer 2 and the data decoder offers 2 independent packet mode decoders.
Parametrics
U2739M-AFT absolute maximum ratings:(1)Supply voltage VDD: 3.0 to 3.6V; (2)Input / output voltage Vin/Vout: 0 to VDD V; (3)Ambient temperature Tamb –40℃ to +85℃; (4)Power dissipation Pstat: 20mW; (5)Power dissipation Pdyn: 860mW; (6)Storage temperature Tstg: –65 to 125℃.
Features
U2739M-AFT features: (1)Support of mode I, II, III and IV acc. to ETS 300 401; (2)Time & frequency synchronization with a wide-range parameter set; (3)Optional implementation of user-defined synchronization strategy by using USE boot mode; (4)Flexible software configuration: set 1 – (temic kernel), set 2 – (user extension) concept; (5)Automatic mode detection (AMD); (6)FIC on-chip memory, access via MC interface; (7)Generation of receiver status information; (8)Generation of tuner control signals; (9)Generation of pulse width modulated VCXO control signal; (10)Power supply 3.3 V, master clock 24.576 MHz; (11)Plastic TQFP100 package or; (12)Ceramic QFP144 package for software development.
Diagrams

![]() |
![]() U273 |
![]() Apem |
![]() Switch Hardware Switch Hardware |
![]() Data Sheet |
![]()
|
|
||||||||||||
![]() |
![]() U2730B-NFS |
![]() |
![]() IC DOWN-CONV FOR DAB RCVR 28SSOP |
![]() Data Sheet |
![]() Negotiable |
|
||||||||||||
![]() |
![]() U2730B-NFSG1 |
![]() |
![]() IC DOWN-CONV FOR DAB RCVR 28SSOP |
![]() Data Sheet |
![]() Negotiable |
|
||||||||||||
![]() |
![]() U2731B-NFN |
![]() |
![]() IC FRONT-END DAB 8.5V 44-SSOP |
![]() Data Sheet |
![]() Negotiable |
|
||||||||||||
![]() |
![]() U2731B-NFN19 |
![]() |
![]() IC FRONT-END DAB 8.5V 44SSOP |
![]() Data Sheet |
![]() Negotiable |
|
||||||||||||
![]() |
![]() U2739M-BFT |
![]() |
![]() IC DECODER 1CHAN/SOURCE 100-PQFP |
![]() Data Sheet |
![]() Negotiable |
|
||||||||||||
(China (Mainland))









