Product Summary
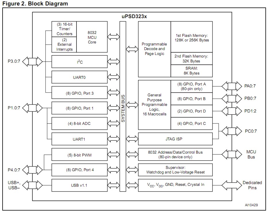
The UPSD3234A-40U6 is a flash programmable system device which combines a fast 8051-based microcontroller with a flexible memory structure, programmable logic, and a rich peripheral mix including USB, to form an ideal embedded controller. At its core is an industry-standard 8032 MCU operating up to 40MHz.
Parametrics
UPSD3234A-40U6 absolute maximum ratings: (1)Storage Temperature: –65 125℃ ; (2)Lead Temperature during Soldering (20 seconds max.)(1): 235℃ ; (3)Input and Output Voltage (Q = VOH or Hi-Z): –0.5 to 6.5 V; (4)Supply Voltage: –0.5 to 6.5 V; (5)Device Programmer Supply Voltage: –0.5 to 14.0 V; (6)Electrostatic Discharge Voltage (Human Body Model)(2):–2000 to 2000 V.
Features
UPSD3234A-40U6 features: (1)Fast 8-bit 8032 MCU; (2)Dual flash memories with memory management; (3)Clock, reset, and supply management; (4)Programmable logic, general purpose; (5)Communication interfaces; (6)JTAG in-system programming; (7)A/D converter; (8)Timers and interrupts; (9)Single supply voltage.
Diagrams

| Image | Part No | Mfg | Description | ![]() |
Pricing (USD) |
Quantity | ||||
|---|---|---|---|---|---|---|---|---|---|---|
![]() |
![]() UPSD3234A-40U6 |
![]() STMicroelectronics |
![]() 8-bit Microcontrollers (MCU) 5.0V 2M 40MHz |
![]() Data Sheet |
![]() Negotiable |
|
||||
![]() |
![]() UPSD3234A-40U6T |
![]() STMicroelectronics |
![]() 8-bit Microcontrollers (MCU) Flash Programmable System Devices |
![]() Data Sheet |
![]() Negotiable |
|
||||
(China (Mainland))









